NUTS

A nut is a type of fasteners with a thread hole. Nuts are almost always with bolts to fasten a stack of parts together. According to material, we have carbon steel nuts, stainless steel nuts, and other material nuts. According to the standard, we have DIN, GB, ANSI, BSW, JIS standard. According to the function, we have hex nuts, flange nuts, nylon lock nuts and so on.


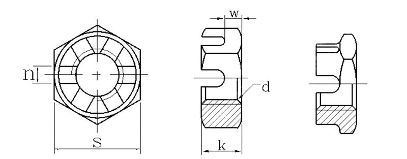
Slotted nut

Inquiry


*
*
*